Đồng sáng lập Google bí mật đầu tư 100 triệu USD phát triển Ô tô bay

Theo nhiều nguồn tin thân cận cho biết, câu chuyện khiến dư luận nói chung và giới công nghệ nói riêng phải bàn tán xôn xao này bắt nguồn từ một công bố của Bloomberg Businessweek. Ngoài ra, Page cũng được cho là khá kín kẽ về việc mình đang sở hữu một startup được xúc tiến, phát triển từ năm 2010 với tên gọi Zee.Aero.
Cụ thể, vị lãnh đạo giàu có đã bỏ ra 100 triệu USD cho công ty trên, với trụ sở tọa lạc tại Mountain View thuộc bang California (gần chi nhánh HQ của Google), cùng số lượng nhân viên hiện tại đã lên đến 150 người.
Tất nhiên, tất cả vẫn chưa dừng lại ở đó: Kitty Hawk - một startup khác liên quan tới lĩnh vực phát triển ô-tô bay cũng được nhà tỷ phú này đứng tên. Kitty Hawk hoạt động độc lập đối với Zee.Aero, nhưng lại cùng phục vụ chung một mục đích như đã đề cập (hiện vẫn chưa rõ mức tiền được đầu tư cho Kitty Hawk).
Những thông tin trên không hẳn chỉ là những tin đồn xuất hiện đơn thuần về mặt lý thuyết hay giấy tờ. Theo Bloomberg, trên thực tế, Zee.Aero đã thành công trong việc cho ra mắt hai nguyên mẫu phi thuyền phiên bản đầu tiên chạy năng lượng điện, hiện đang được lưu trữ và bảo trì trong một nhà chứa máy bay gần đó để tiến hành thử nghiệm.
.png)
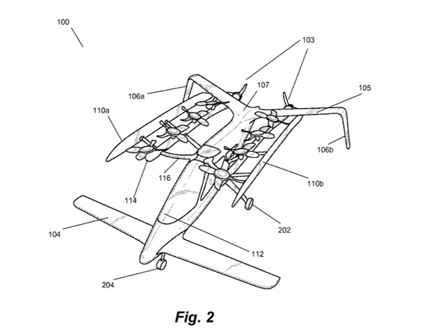
Phát kiến trước đó đến từ Zee.Aero
Cũng theo chia sẻ bởi Bloomberg, sơ đồ phía trên thực chất là bản thiết kế của một sáng chế trước đó, xuất hiện từ năm 2011, nhưng nay đã được cải tiến, đặt trọng tâm trong việc theo đuổi một hình mẫu truyền thống và đơn giản hơn.
Về cơ bản, tiềm năng của dự án, về lâu dài, đồng nghĩa với việc phát triển ngành công nghiệp chế tạo phương tiện di chuyển có khả năng bay tương tự như những phi thuyền, nhưng được giới hạn ở một độ cao nhất định so với mặt đất. Làm rõ cho nhận định trên, những thiết kế xuất phát từ Zee.Aero sử dụng động cơ cánh quạt để cất cánh lên thẳng – một cách hiệu quả để tiết kiệm diện tích – đồng thời một vài biểu đồ phân tích cũng chỉ ra kết quả thu được cho thấy bộ phận cánh của phương tiện có thể gập lên để tạo thêm khoảng trống.

Thông điệp từ website của Zee.Aero
Tuy vậy, website chính thức từ phía Zee.Aero lại gần như không thể hiện nhiều động thái phản ứng cũng như cung cấp thêm thông tin chi tiết cho vụ việc trên. “Với những dự án được trực tiếp điều hành từ trụ sở chính của công ty tại trung tâm Thung lũng Silicon, Zee sẽ nắm vai trò thúc đẩy một cuộc cách mạng trong công nghiệp phát triển giao thông,” trích dẫn trong một bản chiêu mộ tuyển dụng nhân lực trên trang web.“Thừa hưởng toàn bộ tinh hoa công nghệ trong lĩnh vực khí động học, sản xuất nâng cao và đột phá trong cả ngành động cơ kỹ thuật điện, cùng những bàn tay tài hoa và bộ óc sáng tạo không ngừng học hỏi, chúng tôi tự tin sẽ mang lại một không gian và trải nghiệm tuyệt vời, thỏa mãn nhất cho thị trường này trong tương lai, bất kể mọi khó khăn, thử thách.”
Về phần Page, rõ ràng vị CEO tiếng tăm này dường như cũng đã và đang cố gắng hết sức trong việc giữ cho những thông tin trao đổi liên quan giữa mình và Zee.Aero kín đáo hơn bao giờ hết. Một minh chứng rõ ràng nhất, theo nguồn tin từ Bloomberg, là khi Page đã thuê tầng phía trên của một tòa nhà làm trụ sở chính của Zee, trở lại với những bước đi đầu tiên của công ty, ông thậm chí còn không cho phép nhân viên gọi trực tiếp tên thật của mình. Thay vào đó, mọi người thường xưng hô với ông bằng cái tên “GUS” – viết tắt của “Người đàn ông tầng trên” (Guy Upstairs).










